易控智驾冲刺港股,营收与亏损双高,紫金矿业持股曝光
易控智驾正在冲刺港股市场,近期公布的数据显示,公司在九个月内的营收达到9亿元,但亏损也达到了惊人的4亿元,尽管面临财务压力,但该公司仍在积极寻求发展机会,值得注意的是,紫金矿业是该公司的股东之一,易控智驾将面临诸多挑战和机遇,需要继续加强技术研发和市场拓展,以实现可持续发展。
雅虎财经 12月31日
易控智驾科技股份有限公司(简称:“易控智驾”)日前更新招股书,准备在港交所上市。
最近,“大疆教父”李泽湘创办的希迪智驾也于近期在港股上市,成为全球无人驾驶矿卡第一股。
希迪智驾全球发售540.8万股,每股发售价263港元,募资总额为14.22亿港元;扣除上市应付费用1.13亿港元,募资净额为13亿港元。
不过,希迪智驾在港股上市并未受到追捧,首日开盘价263港元,很快就破发,跌幅超过13%,以收盘价计算,公司市值为99.4亿港元。
9个月营收9.2亿 亏损4.4亿
易控智驾是一家L4级无人驾驶解决方案公司,构建了完全自主开发全栈式、专为采矿作业量身定制的L4级无人驾驶技术栈。
易控智驾的专有能力涵盖智能感知、预测、规控等核心领域,以及灵活的软件定义驱动架构,可在最复杂的矿区环境中实现高度自适应、可扩展和稳定的部署。
招股书显示,易控智驾2022年、2023年、2024年营收分别为5992万元、2.71亿元、9.86亿元;毛利分别为-1769万元、-5046万元、7471万元;年内亏损分别为2.16亿元、3.34亿元、3.9亿元。
易控智驾2025年前9个月营收为9.21亿元,上年同期的营收为4.52亿元;毛利为6533万元,上年同期的毛利为555万元;期内亏损为4.42亿,上年同期的期内亏损为2.72亿元。
易控智驾2022年、2023年、2024年经调整净亏分别为1.54亿元、2.84亿元、3亿元;EBITDA分别为-1.93亿元、-2.77亿元、-2.62亿元;经调整EBITDA分别为-1.31亿元、-2.27亿元、-1.75亿元。
易控智驾2025年前9个月经调整净亏4.15亿,EBITDA为-2.29亿元,经调整EBITDA为-2亿元。
截至2025年9月30日,易控智驾持有的现金及现金等价物为5.57亿元。
紫金矿业是股东
易控智驾执行董事分别为蓝水生、张磊、林巧博士、陈慧勇博士、曲晓燕女士,非执行董事为赖盛民,独立非执行董事分别为龚焱博士、韩践博士、王宇山。
易控智驾CEO蓝水生是一位连续创业者,聚焦矿区无人驾驶这一非共识但市场潜力巨大的赛道,并主导公司发展的各个关键阶段。
董事长兼联合创始人张磊拥有10余年无人驾驶车辆研发经验,深耕矿区无人驾驶领域及商用车平台。研发副总裁陈慧勇博士作为电动汽车系统专家,曾担任宇通首席工程师。战略生态副总裁林巧博士曾领导阿里巴巴菜鸟无人驾驶开发部门及航天科工控制系统研发。首席财务官曲晓燕具备丰富的资本运作经验,曾主导多家行业龙头企业的融资与上市项目。
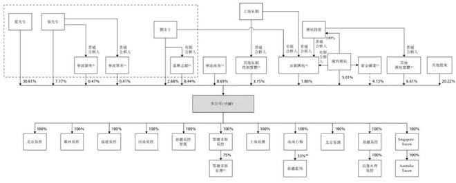
IPO前,蓝水生持股为30.61%,蓝水生的妻子刘冬梅女士持股为2.68%,嘉兴志韬持股为8.44%,张磊持股为7.17%,宁波御英持股为0.47%,宁波众英持股为0.41%。
上述几个股东并称为控股股东,一共控制公司49.79%股权。宁波南英、宁波众英及宁波御英为易控智驾的僱员激励平台。
兴杭实体通过闽西兴杭持股5.01%,通过兴杭朝智持股为4.09%,通过兴杭朝光持股为0.98%,通过兴杭启光持股为0.96%,通过兴杭朝风持股为0.58%,一共持股为11.62%;
上海辰韬通过湖州越诚持股为1.13%,通过嘉兴科隆持股为0.97%,通过嘉兴辰智持股为0.59%,通过平潭嘉翼持股为0.58%,通过嘉兴辰易持股为0.49%,一共持股为3.75%。
紫金矿业通过紫地投资持股3.05%,通过紫牛投资持股为1.09%,一共持股为4.13%;
宁波南英持股为8.69%,辰韬兴杭持股为1.8%,MagicAcademy持股为3.75%,天津斯道持股为3.24%,兴富创投持股为1.17%,马征持股为0.51%,郑州高新基金持股为0.47%;
云际创远持股为0.91%,无鍚星奇持股为0.62%,熙禾投资持股为0.66%,宁波问鼎持股为0.65%,时代泽远持股为3.85%,赵大鹏持股为0.83%,OceanEW15 持股为0.22%,同力持股为0.62%,上海方广持股为0.95%,常州方广持股为1.28%,李承霖持股为0.31%。
作者:访客本文地址:https://cbern.net.cn/post/6542.html发布于 2025-12-31 16:29:51
文章转载或复制请以超链接形式并注明出处雅虎财经

还没有评论,来说两句吧...